哥伦比亚海关数据(哥伦比亚海关出口数据)来源于哥伦比亚海关,哥伦比亚海关分为两个部分,即海关边境保护局与移民海关执法局,详细记录了哥伦比亚出口商出口全球的每一笔哥伦比亚海运提单数据。
一、哥伦比亚海关数据(哥伦比亚海关出口数据)简述:
哥伦比亚是拉美仅次于墨西哥的第二大国产电子和电器生产国,是世界第45大出口经济体。哥伦比亚的主要出口产品是原油、煤球、咖啡、成品油和鲜花。哥伦比亚的主要出口目的地是美国、巴拿马、荷兰、厄瓜多尔和西班牙。哥伦比亚的矿产品在中国最具竞争力,如矿物燃料、矿物油及其产品、沥青,对中国出口额的比重高达89.1%,远超均值。其次是贱金属。据哥伦比亚统计局统计,2019年,哥伦比亚与中国双边货物进出口额153.1亿美元,增加5.7%。其中,哥伦比亚对中国出口43.4亿美元,增加10.3%,占哥伦比亚出口总额的11%,增加1.6个百分点;
哥伦比亚海关出口数据:哥伦比亚出口企业出口到全球的详细国际贸易活动,助您开拓、提升公司在哥伦比亚乃至全球的国际贸易业务。
二、哥伦比亚海关数据(哥伦比亚海关出口数据)字段内容:
公司信息:哥伦比亚采购商、哥伦比亚采购商地址、哥伦比亚采购商电话、哥伦比亚采购商部门、全球供应商名称、全球供应商联系信息、全球供应商地址
航运信息:运输公司、运输方式、原产国、目的国、贸易国。
货物信息:HS编码、产品描述、数量、数量单位、金额、重量、重量单位、税额等
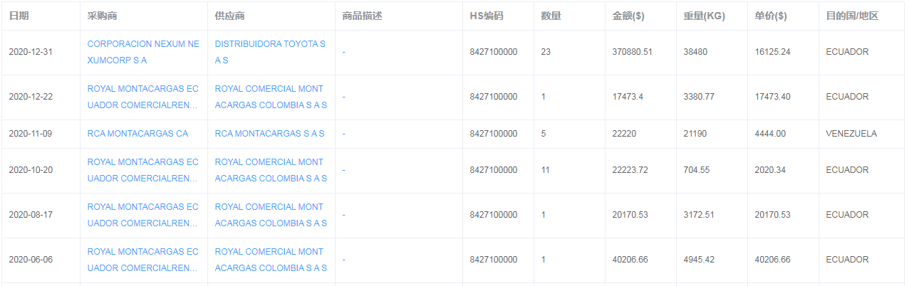
三、哥伦比亚海关数据(哥伦比亚海关出口数据)样本:
1、哥伦比亚出口海关数据原始数据样本

2、哥伦比亚出口海关数据产品界面:
